首页
美丽鄯善
政务公开
互动交流
政务服务
专题专栏
登录
|
注册
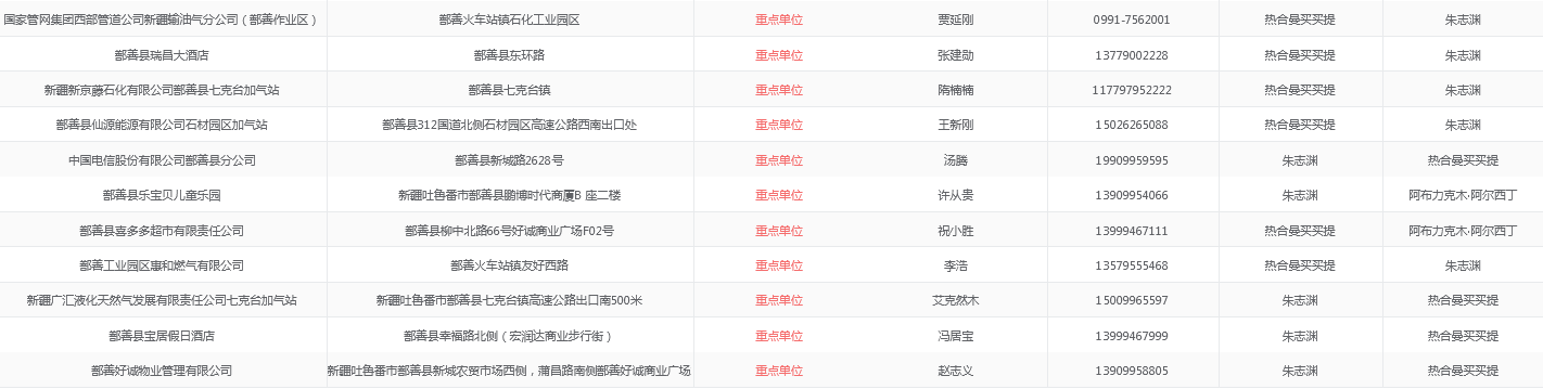
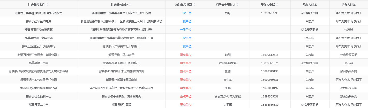
鄯善县消防救援局2025年3月份“双随机、一公开”抽查任务公示
发布时间:
2025-03-01 18:22
文章来源:鄯善县消防救援局
发布机构: