首页
美丽鄯善
政务公开
互动交流
政务服务
专题专栏
无障碍
登录
|
注册
进入老年模式
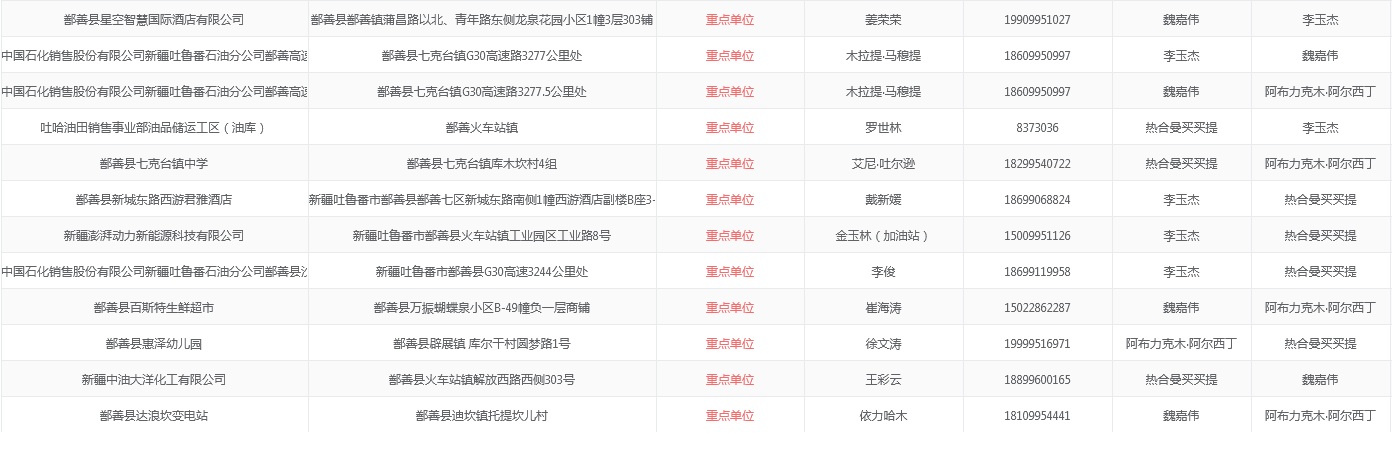
鄯善县消防救援局2025年6月份“双随机、一公开”抽查任务公示
发布时间:
2025-06-01 11:31
文章来源:鄯善县消防救援局
浏览次数:
发布机构: